V-6

  • 30 Days of the 2014 Jaguar F-Type

    As we continue our ongoing month of coverage of Jaguar's return to the sports car world with the 2014 F-Type, we now take you into a more in-depth look at the car's mechanical and other aspects. Today, we begin with the V-6 engines in the base F-Type and F-Type S. Displacing 3.0 liters, the aluminum V-6 engine in the F-Type is very similar to the one offered in the new XJ and XF sedans as well as the 2014 Land Rover Range Rover Sport--right down to the 340 horsepower rating. Developed from the 5.0-liter V-8 also used by both Jaguar and Land Rover, the V-6 engines, thankfully, don't feel like...

  • Chrysler Pentastar V-6 engine
    Chrysler Builds Its One-Millionth Pentastar V-6

    In just two years, Chrysler has built one million Pentastar V-6 engines, now used in over 68 percent of domestic Chrysler vehicles.

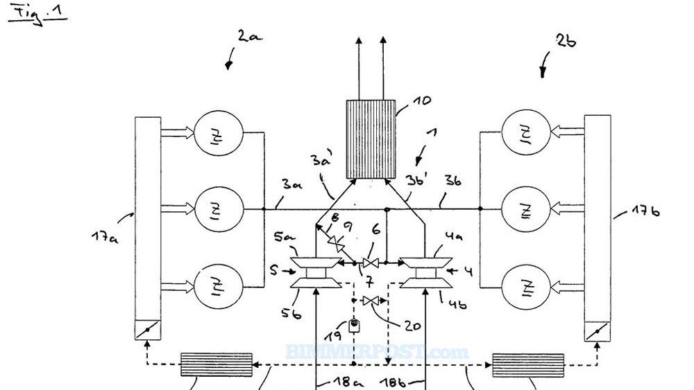
  • BMW patent schematic of V-6 twin-turbo engine
    Is BMW Planning A Heretical V-6 Twin-Turbo Engine For The Next M3?

    The V-6 engine is a great thing. Many carmakers, notably Volkswagen and Nissan, have used them to great effect in various implementations. But BMW has a history of inline sixes, not Vs. That may be about to change if the latest patent drawings and reports hold up. As dug up by Bimmerpost, the...

  • 2012 Cadillac SRX
    2012 Cadillac SRX Preview

    The sole powertrain in the 2012 Cadillac SRX is a 3.6-liter V-6 rated at 308 horsepower and 265 pound-feet of torque.

  • 2011 Infiniti M37
    No Plans For Infiniti M25 In U.S.: Report

    Infiniti currently offers a 2.5-liter engine in its G Sedan in the U.S. but in Japan, this 218 horsepower V-6 is also offered in the more expensive M Sedan, known locally as the Nissan Fuga. Don’t hold your breath waiting for Infiniti to launch an ‘M25’ with this 2.5-liter engine...

  • 2012 Jaguar XF
    Jaguar Working On New V-6 For XF: Report

    Jaguar’s current lineup in the U.S. is only offered with a range of V-8 engines, all displacing 5.0-liters and some coming in supercharged form. Outputs range from 385 horsepower in the base, naturally aspirated unit, and go up all the way to 510 horsepower in the range-topping...

  • 2011 Cadillac CTS Coupe

    Fans and enthusiasts of the conventional manual gearbox have likely lost another round in the battle being waged by automakers to phase out the clutch pedal in more and more cars. The latest casualty is the 2012 Cadillac CTS, which in 3.6-liter V-6 guise is said to be no longer offering a six-speed manual transmission as an option. With the 2011 CTS Sedan and Coupe, customers buying the rear-wheel drive 3.6-liter model in Performance or Premium trims could opt for a manual transmission. For 2012, the same trim levels will most likely be offered exclusively with a six-speed automatic. The V-8...

  • 2012 Cadillac SRX
    2012 Cadillac SRX Gets 300-HP 3.6-Liter V-6

    Back in February, reports started circling that Cadillac would be doing away with the previous 3.0-liter V-6 and replacing it with the 3.6-liter V-6 in the 2012 SRX, and today, it's official: the 300-horsepower LFX engine will be available. The larger V-6 adds 35 horsepower and 37 pound feet of...

  • 2011 Dodge Durango Heat
    2011 Chicago Auto Show: 2011 Dodge Durango Heat

    Making its debut today at the 2011 Chicago Auto Show is the all-new 2011 Dodge Durango Heat, a sporty trim level for the big SUV complete with a fuel efficient V-6 engine and aggressive body styling. In its most basic form, the Durango Heat comes with rear-wheel drive (all-wheel drive is an option)...

  • 2010 Cadillac SRX Turbo
    Report: 2012 Cadillac SRX To Adopt 3.6-Liter ‘LFX’ V-6

    Just a few weeks ago we reported on GM deciding to ditch the 2.8-liter turbocharged engine in the Cadillac SRX and stick with its naturally aspirated 3.0-liter V-6 as the luxury crossover’s sole engine option. We now have an update on those reports, with news today claiming the 3.0-liter V-6...

  • 2011 Ford Mustang V-6
    ProCharger Supercharger On The Way For V-6 Mustangs

    The automotive aftermarket has not forgotten about V-6 powered Mustangs. ProCharger, which already makes a supercharger that adds 140 horsepower to the 5.0-liter V-8 GT, is about to introduce a new supercharger for the 3.7-liter V-6, which makes 305 horsepower in stock form. With eight pounds of...

  • 2011 Chevrolet Camaro
    Rumor: Camaro To Get More Powerful V-6

    We've already told you that rumors about the 2012 Chevrolet Camaro are leaking out. Now we've heard another one--this time concerning the V-6 powerplant. A post on the Camaro5 forums suggests that a new direct-injection 3.6-liter "LFX" V-6 is going to replace the current 3.6-liter mill. The LFX has...

  • XM Accessory Package SEMA Camaro

    The dust has barely settled on the launch of the new Chevrolet Camaro Convertible, which has entered the market with a 2011 model year tag, but already the first details for the car’s 2012 model year have started to seep. Although unconfirmed by Chevrolet, the new 2012 model year Camaro is expected to feature new paint and trim options, as well as a brand new V-6 engine. Codenamed the LFX V-6, the new engine should give the Camaro a leg-up over its Ford Mustang rival thanks to a number of fuel saving technologies and expected 330 horsepower output--25 more ponies than the Mustang. The...

  • Ford F-150 EcoBoost Engine Teardown
    2011 Detroit Auto Show Preview: Ford F-150 EcoBoost Engine Teardown

    Ford will be putting the reliability of its EcoBoost engines on the line with a public demonstration of an F-150 EcoBoost engine teardown at next week’s 2011 Detroit Auto Show. The teardown process essentially involves the engine being stripped into its individual components and then analyzed...

  • 2011 Acura RL
    2011 Acura RL Preview

    The current-generation Acura RL has been on the market since late 2004 and since then has only undergone one major facelift to keep it looking fresh amongst a sea of strong competitors. In 2011 that same car is soldiering on, receiving only minor updates to keep it ticking until a replacement...

  • Idries Noah's T2 Concept
    Idries Noah's T2 Concept: 469 HP Hybrid Supercar

    The world of virtual design concepts often comes up with some wacky ideas, but we have to admit Idries Noah's execution of the 2010 T2 Concept is attractive--and better yet, it gives us an idea of what to expect from a completely different car: the rumored-to-be-reborn Honda/Acura NSX. How is it...

  • 2011 Mustang V-6
    Ford Calling Facebook Fans To Name New Performance Package For Mustang V-6

    Ford is developing a new performance package for its 2012 model year Mustang V-6 but it needs your help. The Blue Oval is calling on its Facebook fans, more specifically, the Ford Mustang Facebook community, of which there are more than 940,000 members, to come up with a new name for the...

  • 2011 Nissan Quest
    2010 Los Angeles Auto Show: 2011 Nissan Quest

    Large SUVs and minivans have fallen on the hardest of times in the industry's late downturn, and casualties of the recession are still mounting. Take the Nissan Quest minivan; Nissan decided to bring U.S. production of the Quest minivan to an end this year but a new model is in the works and is...

  • Chevrolet returns to Indycar as engine supplier

    Racing used to be taboo at General Motors, once banned by a corporate edict. Not that things didn't happen under the table. But things have changed over the past 50 years, with Corvette Racing and other teams going full-bore. Now Chevrolet is jumping back into the IndyCar game with a purpose-built V-6 to power Team Penske cars. Rules changes for 2012 are what opened the door. Previously the series was dominated by Honda power, but Chevrolet is not without experience: it built V-8 engines for "Indy-style" racing from 1986-1993 and 2002-2005. The new aluminum-block-and-heads V-6 engine will...

  • 2011 Volkswagen Jetta
    V-6 Powered Volkswagen Jetta R In The Works?

    For anyone still lamenting Volkswagen’s decision to ditch its guttural 3.2-liter V-6 in the transition from the MkV Golf R32 to the current MkVI Golf R, there is some hope on the horizon. Volkswagen may launch a new V-6 powered R car but this time ‘round the Jetta sedan is expected to...

  • 2009 Cadillac STS
    2011 Cadillac STS Ditches The V-8

    Cadillac’s ageing STS sedan is soldiering on for yet another model year, despite most of the competition in the mid- to full-size luxury sedan segments being updated or overhauled in recent years. This is because the STS, along with the front-wheel drive DTS, is to be replaced by a single...

  • Chrysler Pentastar V-6 engine
    Chrysler Pentastar V-6 Will Spawn Multi-Displacement Family Of Engines

    Chrysler is revamping its powertrain lineup with technology the automaker claims will help contribute to an overall fuel efficiency improvement of more than 25 percent during the 2010-2014 period. In fact, by 2014, more than 80 percent of Chrysler’s current powertrain lineup will have...

  • 2011 Infiniti G25 Sedan
    2011 Infiniti G25 Sedan Preview

    The idea of a more affordable Infiniti G sedan is intriguing. One does have to wonder, however, what implications moving further down-market and into a lower price segment might have on Infiniti's brand perception as a whole. With the new M on the way and Infiniti's efforts to move that nameplate...

  • Mustang 1000 Lap Challenge
    2011 Ford Mustang V-6 Averages 48.5 MPG Around Bristol Motor Speedway

    Ford isn’t going to let its rivals forget about the prowess of its new 2011 Mustang when it comes to fuel efficiency, which in V-6 guise is currently the only production vehicle on the planet with more than 300 horsepower and 30+ mpg fuel economy. Earlier this year the 305 horsepower 2011 Ford...

Follow Us on Instagram @motorauthority

News First Drives Auto Shows Photos Videos Spy Shots