Stephen Edelstein, Contributing Writer
Articles
-
Lamborghini has filed a European trademark application for the word Revuelto, hinting at a possible name for the successor to the Aventador.
Lamborghini filed its application with the European Union...
-
Buick Electra-X concept previews design and direction for Chinese EVsBuick's first EV is coming to the U.S. in 2024, but the Electra-X concept shows the look of five EVs due for China by 2025.
Stephen Edelstein -
GM trademarks Chevrolet Corvette Grand Sport, againIt looks like the Chevy Corvette Grand Sport will be back, but could it be a hybrid this time?
Stephen Edelstein -
2023 Toyota 86 Special Edition blazes with Solar Shift paintA total of 860 2023 Toyota 86 Special Edition models will be offered with bright Solar Shift paint, matte black wheels, and a cat-back exhaust.
Stephen Edelstein -
Mercedes-Benz AMG E63 Final Edition confirms the V-8's deathThe name of the Mercedes-Benz AMG E63 Final Edition indicates it could be the last of the E-Class V-8s.
Stephen Edelstein -
Red Bull Racing extends Sergio Perez's F1 contract through 2024Mexican Formula One driver Sergio Perez received a two-year contract extension with Red Bull Racing after winning the Monaco Grand Prix.
Stephen Edelstein -
Before the current BMW M8, the automaker toyed with building an M version of the wedge-shaped E31 8-Series of the 1990s, even building a one-off prototype. That car recently resurfaced in a video...
-
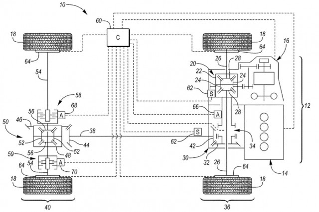
Ford patents triple-clutch all-wheel-drive systemFord looks to have come up with a new type of all-wheel-drive system.
Stephen Edelstein -
1916 Autocar coal truck brings simpler time to Jay Leno's GarageMeet a truck that's a real throwback to the early days of driving.
Stephen Edelstein -
GM patents anti-motion sickness technologySelf-driving cars are coming, and automakers want to make sure occupants are as comfy as possible.
Stephen Edelstein -
How to start the 1970 Porsche 917KThis video features the fairly complicated start-up process for an historic Porsche 917K that will cross the RM Sotheby's auction block during Monterey Car Week this August.
Stephen Edelstein -
Goodyear developing airless tiresA flat tire will become a thing of the past if airless tires become a reality.
Stephen Edelstein -
Pagani will unveil yet another one-off Huayra, which will make its public debut at the 2022 Motor Valley Fest in Modena, Italy, near Pagani's headquarters.
According to a company press release, the...
-
Witness the Gordon Murray T.50 supercar get tortured in the name of safetyThis video shows the Gordon Murray T.50 supercar encounter obstacles such as cobblestones, potholes, a gravel mound, and a wild boar.
Stephen Edelstein -
2024 GMC Hummer EV SUV testing in MoabGeneral Motors president Mark Reuss shared photos of the 2024 GMC Hummer EV SUV testing its off-road prowess at the off-road mecca, Moab, Utah.
Stephen Edelstein -
Bugatti Centodieci interior pays tribute to EB 110 Super SportThe Bugatti Centodieci is a sport version of the Chiron inspired by the EB 110 of the 1990s, and its custom interior pays tribute to the even rarer Super Sport version of that car.
Stephen Edelstein -
Ford patents trailer sideswipe avoidance technology, aims to make towing saferThe technology would use sensors for speed, yaw rate, steering angle, and more to determine if a trailer is in danger of colliding with obstacles and trigger safety systems to respond.
Stephen Edelstein -
GM patent: Dual charge ports could allow electric trucks a lot of energy flexibilityHarnessing the dual-layer packs' built-in ability to operate as two, in series or in parallel, electric trucks could charge on two ports at once, or use one for a load while charging on the other.
Stephen Edelstein -
Rolls-Royce on Friday revealed the second of three Boat Tail convertibles, part of the British ultra-luxury automakers return to coachbuilding.
The Boat Tails are the product of the Rolls-Royce...
-
1955 Mercedes-Benz 300 SLR Uhlenhaut Coupe sold for record $143MMercedes-Benz sold one of two 1955 300 SLR Uhlenhaut Coupes for a record $143 million, which will go to charity.
Stephen Edelstein -
Armored Cadillac Escalade doubles as a leather-lined, bulletproof, rolling safe roomThe 2022 B6 Cadillac Escalade will let drug kingpins travel with the peace of mind that shots from an assault rifle can't penetrate their luxury SUV.
Stephen Edelstein -
Mercedes Vision AMG concept previews brand's electric performance car car futureThe Mercedes Vision AMG shows what an electric sedan could look like based on the AMG.EA architecture due in 2025.
Stephen Edelstein -
Upcoming Mercedes-Benz Maybach SL-Class to lead automaker's focus shift to top-end luxuryMercedes-Benz is dividing its lineup into three tiers—Entry Luxury, Core Luxury, and Top-End Luxury—and putting greater focus on the latter.
Stephen Edelstein -
America's first electric fire truck reports for duty in HollywoodHollywood, California, get the nation's first electric firetruck, a Rosenbauer RTX, with two electric motors, a 132-kwh battery, and a BMW diesel range extender.
Stephen Edelstein