Stephen Edelstein, Contributing Writer
Articles
-
Bollinger B1 and B2 electric truck and SUV shelved, focus shifts to commercial fleet Stephen EdelsteinBollinger Motors on Friday announced that it will shelve the B1 electric SUV and B2 electric pickup truck in order to focus on commercial vehicles.
In a press release, the company said it will refund...
-
Local Motors, maker of Rally Fighter, reportedly shuts downAn ambitious company that set out to change how cars are built looks to have reached the end of the road.
Stephen Edelstein -
Bugatti Chiron and Bolide sold outThe supercar successor to the Veyron sold out after a 500-model run, and the Bolide variant sold out shortly thereafter.
Stephen Edelstein -
1987 Buick Grand National driven by Vin Diesel in "Fast and the Furious" heads to auctionOne of two surviving Buick Grand Nationals used in the fourth "Fast and Furious" movie hits the block on January 29.
Stephen Edelstein -
Mazda 3 2-door hatchback patent hints at sporty coupeFrameless doors and reinforced-plastic windows are mentioned as potential weight-saving tech for a coupe.
Stephen Edelstein -
1969 Dodge Charger named Captiv by Ringbrothers delivers a 707-hp throwbackA "streetable" 707 hp is delivered from a 6.2-liter supercharged V-8, with various other mechanical upgrades.
Stephen Edelstein -
A recent European patent filing hints that Mazda might still be working on a rotary-engine revival, possibly as part of a hybrid powertrain for a rear-wheel-drive vehicle.
First spotted by Auto...
-
Mitsubishi teases return of Ralliart with Outlander plug-in hybrid conceptMitsubishi's sporty Ralliart models could return with a stylish Outlander plug-in hybrid.
Stephen Edelstein -
1970 Plymouth AAR 'Cuda from the glory days of Trans Am racing sells for $90,200 at auctionA fully restored 1970 Plymouth AAR 'Cuda crossed the block at the Mecum Kissimmee auction with one lucky buyer to putting a Trans Am-inspired street machine in their garage.
Stephen Edelstein -
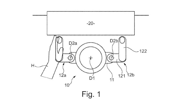
BMW patents yoke steering wheelThe different take on a steering wheel could be used in future autonomous cars.
Stephen Edelstein -
This Mustang chased Porsches for a livingGet a firsthand account of what it was like to drive a Mustang police car in the 1980s.
Stephen Edelstein -
Tesla Plaid Track Mode brings torque vectoring and extra coolingTesla's latest update for the Model S Plaid sees car receive track enhancements that were honed on the Nürburgring.
Stephen Edelstein -
Porsche is celebrating 50 years of its research and development center in Weissach, Germany, with a special exhibit at the company museum, as well as a video explaining the history of the R&D...
-
BMW unveils color-changing paint based on e-reader techThe paint can only change from white to gray to black, but it can improve efficiency through less use of climate control systems.
Stephen Edelstein -
Dwayne "The Rock" Johnson says he's not returning to "Fast and Furious"After appearing in four "Fast and Furious" movies and a spinoff, Dwayne "The Rock" Johnson won't return to the franchise as his beef with Vin Diesel continues.
Stephen Edelstein -
Meet the man who drives every new BugattiImagine your job was to drive hypercars all day. Well, someone has just that.
Stephen Edelstein -
This is how an F1 race car's suspension worksNew video lets you learn the ins and outs of F1 suspension technology.
Stephen Edelstein -
Modifying your car's suspension often isn't worth itAnyone considering modifying their car's suspension should watch this first.
Stephen Edelstein -
Before the M cars, there was the Batmobile. The BMW 3.0 CSL (E9) racked up wins on the track and laid the foundation for today's BMW performance road cars. A new video from BMW Group Classic provides...
-
Watch the rarest Ferrari in the world get washed and detailedThe Ferrari P4/5 is a one-off car built by Pininfarina for Jim Glickenhaus. Driven regularly, it needs a good cleaning and detailing, and Ammo NYC founder Larry Kosilla goes deep into the process in this video.
Stephen Edelstein -
Jay Leno explains how to start a 1909 White steam carWatch Jay Leno go through the complicated process of prepping and starting his 1909 White Model M steam car.
Stephen Edelstein -
GM trademarks Buick Electra in US and CanadaThe Electra name dates back to the 1950s, but now it could be revived for an electric vehicle.
Stephen Edelstein -
Competition Carbon turning C8 Corvette into V-12-powered Cadillac supercarThe California company that makes carbon-fiber aero packages is working on a whole vehicle project to turn the C8 Corvette into a V-12-powered Cadillac supercar.
Stephen Edelstein -
"The Batman" trailer teases new Batmobile in motionRobert Pattinson's Batmobile features an old-school muscle car look rather than the tank-like design used in other recent Batman films.
Stephen Edelstein