Viknesh Vijayenthiran, Editor
Articles
-
With the merger between Fiat Chrysler Automobiles and France's PSA Group to form Stellantis completed in January, everyone remains eager to see what CEO Carlos Tavares has planned for the new...
-
2022 Genesis G70 Shooting Brake, 2023 Porsche Cayenne, Aston Martin future: Today's Car NewsA Genesis wagon, a major update for the Cayenne, and the future plans of Aston Martin were all in today's headlines.
Viknesh Vijayenthiran -
Preview: 2022 Bentley Flying Spur brings more refinementNew technology and more personalization options make Bentley's sole sedan even more refined.
Viknesh Vijayenthiran -
2022 Genesis G70 Shooting Brake is a handsome wagon for EuropeGenesis has kicked off its launch in Europe with the reveal of a sexy G70 wagon.
Viknesh Vijayenthiran -
Ford F-150 Lightning, Subaru Solterra, new Bristol revival: Car News HeadlinesFord's electric F-150, Subaru's electric crossover, and the revival of a historic British brand all made headlines today.
Viknesh Vijayenthiran -
Hans Zimmer composes sound for BMW EVs, including distinct sound for electric M carsBMW teamed up with famous film score composer Hans Zimmer to craft a distinct sound for its future electric cars.
Viknesh Vijayenthiran -
The Lotus Elise, Exige and Evora are on their way out, to be replaced by the new Emira sports car which debuts in July and starts sales in 2022, including here in the United States.
Lotus has...
-
Bristol Buccaneer EV in the worksHistoric British brand Bristol is to be revived with re-creation models, as well as its first EV.
Viknesh Vijayenthiran -
2022 Genesis G70 Launch Edition limited to 500 unitsA thoroughly updated Genesis G70 goes on sale this summer and the first examples will feature an exclusive paint job.
Viknesh Vijayenthiran -
2021 Lexus IS, electric Porsche Macan, Toyota hypercar: Today's Car NewsOur review of the Lexus IS, first photos of the electric Macan, and an update on Toyota's hypercar were all in today's headlines.
Viknesh Vijayenthiran -
Late pass secures Hamilton 2021 Formula One Spanish Grand Prix winSunday's Spanish Grand Prix saw a tight race whose outcome ultimately came down to tire strategy.
Viknesh Vijayenthiran -
Mercedes-Benz EQT: Compact electric van for families previewed with conceptMercedes-Benz's next-generation Citan van will spawn an electric version aimed at families and people with active lifestyles.
Viknesh Vijayenthiran -
2021 Ford Shelby GT, 2022 BMW X3, 2023 Porsche Cayenne: This Week's Top Photos Viknesh VijayenthiranFord has offered a number of Shelby-branded Mustangs in recent years, but you can also purchase a tuned 'Stang direct from Shelby American. The company's latest is the 2021 Ford Shelby GT which comes...
-
Ferrari 812 Competizione A, Toyota twin-turbo V-8, baby Jeep: Car News HeadlinesA Ferrari targa, new Toyota V-8, and sub-Renegade Jeep were all in today's headlines.
Viknesh Vijayenthiran -
2021 Formula One Spanish Grand Prix preview: Revised track greets driversThe title fight is very much alive as we head into round four of the 2021 Formula One World Championship.
Viknesh Vijayenthiran -
Veteran Jaguar designer joins EV brand from Indian Uber rivalThe man who designed the Jaguar I-Pace will now design EVs for India's Ola.
Viknesh Vijayenthiran -
Aston Martin Valkyrie chief engineer to join Canada's Project Arrow teamCanada's automotive suppliers will showcase their talents to the world via Project Arrow, and they have a hypercar engineer on their side.
Viknesh Vijayenthiran -
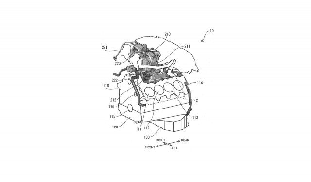
Patent drawings suggest Toyota twin-turbo V-8 is still aliveToyota's Lexus brand has already announced plans to offer a twin-turbocharged V-8, and now patent drawings for just such an engine have surfaced.
Viknesh Vijayenthiran -
While Ferrari's 812 GTS features a retractable hard-top roof that at a push of a button can go up or down in a mere 14 seconds, the roof on the related 812 Competizione A unveiled on Wednesday is...
-
Baby Jeep built in Poland likely to be brand's first EVJeep plans to go even smaller than the subcompact Renegade.
Viknesh Vijayenthiran -
Ford Bronco's pre-wired switches make it easy to add powered accessoriesPre-wired switches in the new Bronco mean no drilling and feeding wires is required to add your must-have powered accessories.
Viknesh Vijayenthiran -
Adorable Citroen Ami coming to USFree2Move customers in Washington, D.C. will soon be able to test the Citroen Ami electric minicar.
Viknesh Vijayenthiran -
Self-driving technology company Argo AI makes lidar breakthroughBy as early as 2022, commercial services using Argo AI's self-driving system will be up and running.
Viknesh Vijayenthiran -
Ferrari 812 Competizione, 2021 Ford Shelby GT, 2022 BMW X3: Car News HeadlinesFerrari's hardcore 812, Shelby American's latest Mustang, and revealing spy shots of the updated X3 were all in today's headlines.
Viknesh Vijayenthiran