Sean Szymkowski, Contributor
Articles
-
Automakers spend millions to design and engineer vehicle platforms, but some suppliers think a switch to off-the-shelf solutions may be an essential part of future vehicles.
To capitalize on this,...
-
Watch the 2017 F-150 Ford Raptor's suspension hard at work while off-roadingThe 2017 Ford F-150 Raptor is one heck of a capable truck off-road. That much we've known for awhile, but if you've ever wondered what the suspension looks like while the truck is tackling jumps, mud, and all sorts of off-road terrain, this video is for you. It's highly entertaining to watch as the...
Sean Szymkowski -
One of three remaining 1949 Saab 92 prototypes heading to auctionSaab's automotive days may be behind it, but that doesn't mean enthusiasts and collectors at large have forgotten about the quirky Swedish marque. In the middle of the last century, Saab was a fledgling automaker, and this was one of its first cars: a 1949 Saab 92. Now, it's heading to a Bonhams...
Sean Szymkowski -
Lotus GT430 Sport offers the go with less aero showLotus took the wraps off of its limited-production Evora GT430 earlier this year, but now anyone (though not anyone in the United States) can hop into a GT430 with the introduction of the Lotus Evora GT430 Sport. The GT430 Sport is almost identical to the limited-run GT430, although the addition of...
Sean Szymkowski -
A Nissan Leaf Nismo might be coming, eventuallyIf there is one automaker that has embraced electric performance cars, it's Tesla. Not only has the Silicon Valley automaker proved electric cars can look good, be luxurious, and work as daily drivers, it's also shown performance is a breeze with a proper battery pack, big motors, and the right...
Sean Szymkowski -
Toyota C-HR Hy-Power concept to bow at Frankfurt auto showToyota plans to occupy two ends of the SUV spectrum with its two global debuts at the 2017 Frankfurt auto show. The automaker announced a new Land Cruiser for the European market and a Toyota C-HR Hy-Power concept will be revealed at the show. Note, the European-spec Land Cruiser is different to...
Sean Szymkowski -
You've never heard of Alcraft Motor Company. That's because this is the start-up's very first attempt at building a car. Foremost, may we say it looks lovely. It's called the Alcraft GT, and it's...
-
Jaguar envisions the steering wheel of the future with Sayer conceptThe future of transportation isn't known, but Jaguar envisions one in which consumers don't own a car but simply a sliver of one: the steering wheel. The British luxury marque has revealed its futuristic steering wheel concept, which it calls "Sayer." Sayer is a personal companion and resides with...
Sean Szymkowski -
Chevy Camaro ZL1 1LE is too dangerous to be sold in EuropeThe 2018 Chevrolet Camaro ZL1 1LE is the most extreme sixth-generation Camaro we've seen yet. But, it's a little too extreme for Europeans. During the most-recent episode of Motor Trend's "Ignition," we learn the 2018 Camaro ZL1 1LE and all of its track prowess won't be sold on the old continent...
Sean Szymkowski -
The story of Kris Singh's Pagani Huayra BCAmerican supercar collector Kris Singh isn't coy about his love affair with exotic automobiles. His collection notably includes a Lamborghini Veneno and a Koenigsegg Agera RS. His most recent purchase is a real rarity, however: a Pagani Huayra BC. The car honors the late Benny Caiola, Pagani's...
Sean Szymkowski -
Porsche needed the Boxster to save itself, because 911s aren't cheapPorsche is a shining star of Volkswagen Group these days, but times weren't always so prosperous. In fact, Porsche was in crisis mode in the early 1990s as sales of its 911 slipped. In fact, it sold just 3,713 cars in the United States in 1993, according to the automaker. What's a sports car brand...
Sean Szymkowski -
Chevrolet SS: the sport sedan that could, but never caught onIt was a common practice of American automakers decades ago. Take a family sedan, swap out the plain-Jane engine, drop in a big V-8, and you have a muscle car. The Chevrolet SS was one of the final examples of such a practice, albeit not a very American one from the start. For those unaware, the...
Sean Szymkowski -
Those eager to get their hands on a Tesla Model 3 may be better off waiting until the options list rounds out a tad more. Right now, a Tesla Model 3 is limited to only a few options such as colors,...
-
The history of the Toyota SupraThe Toyota Supra is an iconic Japanese sports car with humble beginnings. Unlike Nissan, which took until 2009 to offer the really cool GT-Rs in the United States, the Supra was always a part of the U.S. market. In this video by Donut Media, we learn the history of the Toyota Supra. The Supra's...
Sean Szymkowski -
Mazzanti has been testing an Evantra Millecavalli prototypeItaly's most powerful road car has finally hit the road. Mazzanti announced it has spent the summer months testing the 1,000-horsepower Evantra Millecavalli on the winding roads of Tuscany with founder Luca Mazzanti himself behind the wheel. Mazzanti has tapped one of its first buyers of the...
Sean Szymkowski -
Ryan Tuerck's Ferrari-powered Toyota 86 hits the streetsRyan Tuerk is creating a new definition for "daily driven race car." Of course, we're talking about his insane Ferrari-powered Toyota 86, which he took out on public roads to prove it is, in fact, a street car. Dubbed the Toyota GT4586, the car features a donor engine from a Ferrari 458 Italia...
Sean Szymkowski -
Terradyne Gurkha is a wild armored SUV, and it's for saleThere's a market for off-the-wall, armored, luxury SUVs. Just ask Dartz, which revealed its latest Black Alligator SUV at the 2017 Gumball 3000 rally. It's nearly impenetrable and its posh amenities emulate a Bentley or Rolls-Royce. Now, there's this: the Terradyne Gurkha. Actually, the Gurkha came...
Sean Szymkowski -
De Tomaso's final car is heading to auctionDe Tomaso has an incredible history that was cut short much too soon. Although plans to revive the Italian sports car marque have been carried out a couple times, nothing has helped return the brand to its former glory. For those looking for one final piece of true De Tomaso history, RM Sotheby's...
Sean Szymkowski -
When the phrase "one off" is applied to a Ferrari, enthusiasts' ears collectively perk up.
This Ferrari 365 GTB/4 Daytona 'Alloy' is one of those times when all eyes are on one car.
Only 1,200...
-
Porsche says it won't build hybrids with manual transmissionsFancy a hybridized Porsche with a manual transmission? Not so fast, says the German luxury and sports car maker. At the debut of the 2019 Porsche Cayenne, the brand said it won't build any hybrid vehicles equipped with a manual gearbox. Road and Track spoke with Dr. Gernot Döllner, who is vice...
Sean Szymkowski -
Could electric cars use manual transmissions?There's concern among many enthusiasts that the manual transmission is on its way out. This coincides with the notion that electric cars are the future and internal combustion engines will continue to fall out of favor as electric car charging infrastructure and technology exits infancy. If there's...
Sean Szymkowski -
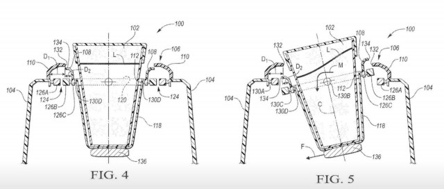
Ford patent shows self-leveling cupholder--no more spillsFile this to Ford's growing list of obscure patents the American automaker has moved to protect over the past few years. It looks like Ford may be interested in ensuring drivers' beverages arrive intact with a self-leveling cupholder. Ford moved to protect the self-leveling cupholder with the U.S...
Sean Szymkowski -
Want to buy an engineless Ferrari 812 Superfast?Plenty of incredible machines will cross the auction block at RM Sotheby's special Ferrari-only auction event next month, though this is an outlier. It's not an actual Ferrari 812 Superfast, but a 1:12 scale model of one, and it too will seek a buyer. Obviously, since it's a model, it doesn't...
Sean Szymkowski -
Tesla Model S has no problem fitting inside The Boring Company's tunnelsNo surprises here. Elon Musk's proposed solution for Los Angeles, California's horrendous traffic will fit a Tesla Model S inside. The solution comes from Musk's latest venture, The Boring Company, and it's begun to dig underneath the headquarters of another Musk venture, SpaceX. Musk took to...
Sean Szymkowski