Stephen Edelstein, Contributing Writer
Articles
-
Like many new vehicles, the Rivian R1T electric pickup truck has multiple drive modes designed to suit different driving situations or driver preferences. This short video from Rivian explains each...
-
Toyota and Yamaha test V-8 that runs on hydrogenHydrogen is a potential solution for keeping internal-combustion engines alive in a world of zero emissions, and Toyota is backing it.
Stephen Edelstein -
How Gordon Murray T.50's rear fan worksGordon Murray's successor to the McLaren F1 is the new GMA T.50, which revives the genius designer's fan car concept.
Stephen Edelstein -
Toyota patented a manual transmission for electric carsToyota may have a way to save the manual transmission in classic cars converted to run on batteries.
Stephen Edelstein -
Skoda 1100 OHC Coupe reconstructed with salvaged parts, digital modelingSkoda has celebrated its 120th anniversary in motorsports in a very cool way.
Stephen Edelstein -
1990 Chevrolet Corvette ZR-1 experimental active suspension prototype for sale, againOne of four remaining 1990 Chevy Corvette ZR-1 cars used to test an experimental active suspension is for sale for the second time in four months.
Stephen Edelstein -
Nissan and Infiniti on Thursday teased new EVs to be built at Nissan's Canton, Mississippi, factory beginning in 2025.
It's possible the duo will include a Nissan EV and a luxury Infiniti sibling...
-
US finally allows use of modern matrix headlightsThe NHTSA has formally approved the use of matrix/adaptive headlights for use in the U.S., clearing the way for more cars to use better headlights.
Stephen Edelstein -
"Formula 1: Drive to Survive" season 4 coming to Netflix March 11The Formula One documentary "Drive to Survive" season 4 will recap the 2021 season when it begins streaming on March 11 on Netflix.
Stephen Edelstein -
This restomod 1976 Chevrolet Corvette uses C5 and C6 hardware, and it's for saleBuilt by the Hungarian firm Protourergarage, the 1976 Chevy Corvette boasts modern performance thanks to C5 and C6 Corvette components, and now it can be yours.
Stephen Edelstein -
Chevrolet Corvette E-Ray hybrid's transmission patented by TremecA patent filing for an 8-speed dual-clutch transmission with an integrated electric motor-generator could preview the transmission for the hybrid Corvette E-Ray.
Stephen Edelstein -
Porsche celebrates 45 years of the V-8 with a love letterThis two-minute video covers the limited but important history of the V-8 at Porsche, a brand known mostly for flat-sixes.
Stephen Edelstein -
New Jersey-based tuner Specialty Vehicle Engineering (SVE) is giving its 750-hp mid-size pickup truck an encore.
The truck is SVE's modern version of the GMC Syclone, based on the current GMC...
-
Watch Max Verstappen race around an ice track in an F1 car on studded tiresReigning F1 champion Max Verstappen has some fun in the snow.
Stephen Edelstein -
Volvo aims to make cars simpler with "mega casting"Volvo will mimic a strategy of Tesla for upcoming models.
Stephen Edelstein -
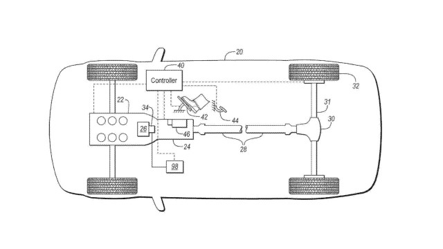
Ford patents manual transmission with electric clutchFord may have developed a system to eliminate stalling in manual-equipped cars.
Stephen Edelstein -
Mercedes-Benz A-Class exits the US after 2022 model yearThe least expensive Mercedes-Benz model is about to become the GLA-Class with the A-Class sedan exiting the U.S. market after 2022.
Stephen Edelstein -
Deep dive: How the 2023 Chevy Corvette Z06's V-8 makes 670 naturally aspirated horsepowerFind out how engineers made the Corvette Z06's engine the most powerful naturally aspirated V-8 in production.
Stephen Edelstein -
Singer on Wednesday unveiled the Turbo Study, a reworked Porsche 911 inspired by the 930 Turbo built from 1975 to 1989, which was the company's first experiment with forced induction. The Turbo...
-
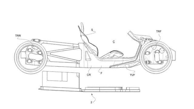
Triumph TE-1 electric motorcycle prototype has a battery system from WilliamsTriumph is developing the TE-1 electric motorcycle with Williams Advanced Engineering, with dynamometer and track testing up next.
Stephen Edelstein -
Ferrari's electric supercar has a battery configuration patentA recent patent shows what an Ferrari might look like and how it could be configured.
Stephen Edelstein -
1955 Mercedes-Benz 300 SL Alloy Gullwing sells for almost $7MMercedes built just 29 aluminum-bodied 300 SL coupes back in the 1950s, and one of them just sold at auction for millions.
Stephen Edelstein -
Here's why Jay Leno doesn't own FerrarisHe's got one of the biggest car collections in the world, but no Ferraris are part of it.
Stephen Edelstein -
Deep dive: How the Bugatti Chiron reset the hypercar barHere's everything you need to know about the Chiron.
Stephen Edelstein