Nelson Ireson, Senior Editor
Articles
-
Lamborghini CEO Stephan Winkelman confirmed today in Frankfurt that 20 Sesto Elemento supercars will be built. Unfortunately, all 20 are already spoken for, but such is the way of the extreme upper... -
2012 Audi RS5 Live Photos: 2011 Frankfurt Auto ShowWe're finally getting some more RS loving from Audi, and it's coming in the svelte form of the 2012 RS5. Sure, we'll have to wait until next year, but for now, we have these live images of the car from the 2011 Frankfurt Auto Show. With a 450-horsepower, 4.2-liter V-8, quattro all-wheel drive, and...
Nelson Ireson -
2012 Bentley Continental GTC Live Photos: 2011 Frankfurt Auto ShowSix liters of W-12 goodness. Five-hundred sixty-seven horsepower. A convertible top. Classic style through a modern lens. The 2012 Bentley Continental GTC. When the 2012 Continental GTC first showed its face to the web in August, it revealed the characteristically fine craftwork and attention to...
Nelson Ireson -
2012 Audi A5 DTM Live Photos: 2011 Frankfurt Auto ShowWhat's wrong with a hot German sports coupe getting a full-on, ground-up, carbon fiber monocoque race treatment? Nothing at all, that's what. Here's the proof. These live images of the 2012 Audi A5 DTM car show that, whatever BMW's M3 DTM car and Mercedes-Benz's AMG DTM car have to offer on track...
Nelson Ireson -
Kia GT concept revealed ahead of 2011 Frankfurt auto showIt has certainly taken the company too long to get around to designing a sports car, but Kia's first rear-wheel drive car is a beauty, and it's packing a V-6 turbo, too. Perhaps it's making up for lost time. Kia says it's been thinking about a high-performance rear-drive car for a while now, but...
Nelson Ireson -
2012 Ford Focus ST-R Race Car: 2011 Frankfurt Auto ShowThe 2012 Ford Focus ST gets a racing variant, which can be ordered as a turn-key setup straight from Ford dealers here in North America.
Nelson Ireson -
Previewed with scant details and only a handful of photos 11 days ago, the Infiniti FX Sebastian Vettel version is now officially out, and it's a bruiser of a crossover.
While it's not quite as... -
Lamborghini Gallardo LP 570-4 Super Trofeo Stradale: 2011 Frankfurt Auto ShowThe Lamborghini Gallardo is growing a bit long in the tooth, due for replacement in the next year or so, and it's starting to show it. Never you mind that, however, as there's another special-edition version out today in Frankfurt: the LP 570-4 Super Trofeo Stradale. Despite its slightly...
Nelson Ireson -
2012 Ford Focus ST Preview: 2011 Frankfurt Auto ShowThe 2012 Ford Focus gets a high-performance hot-hatch variant in the form of the 2012 Focus ST, revealed in Frankfurt and on its way to the U.S.
Nelson Ireson -
2013 Lexus GS 450h Preview: 2011 Frankfurt Auto ShowThe 2013 Lexus GS 350 was just revealed a few weeks ago at Pebble Beach, and now it's time for it's bigger, hybrid brother to take the stage: the 2013 GS 450h has made its debut ahead of the 2011 Frankfurt Auto Show. Powered by a 3.5-liter V-6 sporting an Atkinson Cycle valve timing, 13:1...
Nelson Ireson -
Aston Martin DBS Carbon Edition Gets New ColorsThe Aston Martin DBS Carbon Black Edition, first released in late 2009, today gets a pair of new colors as it preps to debut at the 2011 Frankfurt Auto Show. Flame Orange and Ceramic Grey join the existing Carbon Black color for the new release. The Carbon Edition DBS is essentially the same DBS...
Nelson Ireson -
Vettel's F1 Domination, Frankfurt Auto Show, Mercedes' Hydrogen Gullwing: Today's Car NewsSebastian Vettel remains unstoppable at Monza. [MotorAuthority] The 2012 Audi A5 DTM race car is revealed ahead of the 2011 Frankfurt Auto Show. [MotorAuthority] Audi's Urban Concept gets some live photo action ahead of the Frankfurt show. [GreenCarReports] Red Bull Racing and Renault have extended...
Nelson Ireson -
Saab is in trouble. That's been clear for a long while now. Just how much trouble has come into focus in the last few weeks. Now, Saab has decided to license its core next-generation sedan... -
2012 Audi A5 DTM Race Car: 2011 Frankfurt Auto ShowThe 2012 Audi A5 DTM is a purpose-built racer with little more than some visual cues in common with the production car, but it'll do battle with the companies primary rivals, both on and off track: Mercedes-Benz and BMW.
Nelson Ireson -
AC Schnitzer's 400-HP 2011 BMW 1-Series M CoupeThe BMW 1-Series M Coupe is a very well-balanced and downright quick car in its own right, fresh off the factory floor. But it's also a great platform for improvement and modification, and we're looking forward to seeing what the aftermarket, especially the crafty independents, will do with it. AC...
Nelson Ireson -
Need For Speed: The Run Highlights 2012 Porsche 911We've known for months now that the next issue from the Need For Speed video game series would feature the 2012 Porsche 911 (and the Lamborghini Aventador and Camaro ZL1, among many others). While the rest of the Web whinges about how the NFS series is an "also ran" or simply isn't their fanboy...
Nelson Ireson -
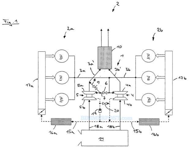
Is BMW Planning A Heretical V-6 Twin-Turbo Engine For The Next M3?The V-6 engine is a great thing. Many carmakers, notably Volkswagen and Nissan, have used them to great effect in various implementations. But BMW has a history of inline sixes, not Vs. That may be about to change if the latest patent drawings and reports hold up. As dug up by Bimmerpost, the...
Nelson Ireson -
Lotus Teasing New Exige In Frankfurt Preview Video?There's no real explanation for the content of this video other than some creative ad guy thought it worked and Lotus' execs apparently didn't bother to look too closely. Fortunately, there are at least a few milliseconds of the car it's ostensibly teasing ahead of the Frankfurt Auto Show buried in...
Nelson Ireson -
The 2012 Chevrolet Camaro ZL1 will get 580 horsepower and 556 pound-feet of torque. Yeehaw! [MotorAuthority]
Has Maserati's SUV concept leaked ahead of Frankfurt? [MotorAuthority]
The 2012 BMW X6's... -
Volkswagen-Porsche Merger Held Up By Legal Issues, AgainOngoing lawsuits are holding up the finalization of the Volkswagen Group's merger with Porsche SE, the latest hurdle in an epic ouroboros that has been underway for several years. The details are eye-glazingly boring, but the effects are very real and potentially harmful to both companies. The...
Nelson Ireson -
Merdad MehRon McLaren MP4-12C PreviewThe Merdad Collection is a range of custom-modified vehicles you might never have heard of, though its latest project is sure to get widely noticed: a unique take on the brand still-new McLaren MP4-12C. Dubbed the MehRon, the custom McLaren supercar wears a highly customized body, unique wheels...
Nelson Ireson -
Porsche Declares F1 Uninteresting, Too Expensive: ReportEchoing sentiments of fans around the world, Porsche's CEO Matthias Mueller has called Formula 1 "not interesting," and "simply too expensive." Instead, the company will be putting its racing efforts toward a new FIA endurance racing category to come in 2014. Porsche already backs many GT-class...
Nelson Ireson -
2012 Mercedes-Benz M-Class Tests Its Mettle In The Dirt: VideoLuxury SUVs are proliferating at what many sport sedan aficionados might consider a disturbing pace--but are they really all-terrain capable or are they just tall, bulky hatchbacks? Mercedes-Benz puts the 2012 M-Class to the test in this video. While you'll see the results for yourself in the...
Nelson Ireson -
Saab Thrown To The Wolves, 2012 Focus ST, New Mercedes Models: Today's Car NewsSaab has been denied bankruptcy protection by a Swedish court. [MotorAuthority] The abandoned Acura NSX in Dubai has been sold for parts. [MotorAuthority] Audi's TT RS race car is ready for sale. [MotorAuthority] Beware hippies: black bears may steal and wreck your Prius. [GreenCarReports] The 2012...
Nelson Ireson