Sean Szymkowski, Contributor
Articles
-
The pizza guy, or lady, may one day be a thing of the past as Ford and Domino's announced a new partnership to deliver pizzas with self-driving cars.
With a fleet of self-driving Ford Fusion Hybrids...
-
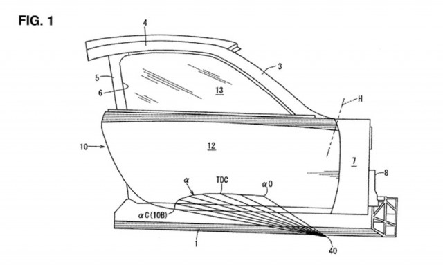
Mazda patents Aston Martin-esque doors, but why?We still don't know what exactly the bright minds at Mazda are up to with regards to a new RX-branded sports car, but the Japanese automaker hasn't been shy about patenting some interesting things. For example, Mazda most recently patented Aston Martin-like doors. Why? We don't know, but they open...
Sean Szymkowski -
3,000-hp Lamborghini Huracán from Underground Racing sets new 1/2 mile recordUnderground Racing has returned to the half-mile three times in the past year, and each time it's outdone itself with its 3,000-horsepower, street-legal Lamborghini Huracán. Most recently, the car was driven to a record speed of 250.27 mph. This has since been obliterated with a 257 mph...
Sean Szymkowski -
A Lamborghini Veneno is for sale for $9.5MIt's a bummer when there's $9.5 million just hanging around in a bank account unspent. Thankfully, we have something that can remedy such a first world problem: there's currently a Lamborghini Veneno up for sale for that exact amount of money. It's one of three Veneno coupes built for customers and...
Sean Szymkowski -
Uber selects Expedia chief as new CEOFollowing an incredibly turbulent year for the popular ride-sharing company, Uber has chosen its next CEO. Dara Khosrowshahi, CEO of Expedia, has been tapped to replace former CEO and Uber founder Travis Kalanick. The New York Times reports the selection has been made official by Uber's board of...
Sean Szymkowski -
Cadillac XT5 mild hybrid launches in ChinaCadillac may be branded as an underdog in North America, but in China the luxury division is a big player. In fact, China is Cadillac's top market these days. Combine Cadillac's success in China with a growing demand for fuel-efficient vehicles, and we have the Cadillac XT5 Hybrid. The XT5 Hybrid...
Sean Szymkowski -
Better late than never, we suppose. As the subcompact crossover SUV segment continues to grow, GMC has said it's still considering a smaller vehicle to slot below the 2018 Terrain.
Duncan Aldred,...
-
Is it OK to skip gears on a manual transmission?For those who daily drive a vehicle equipped with a manual transmission, it's likely a common practice. Rather than rowing through all five or six gears, drivers will skip from third to fifth, fourth to sixth and so on. But is this practice safe to do? Engineering Explained tackled the common...
Sean Szymkowski -
Roll call: 11 Koenigseggs showed up at Monterey Car WeekMonterey Car Week is a very special time when ultra-rare automobiles show their faces to crowds eager to get a closer look. Not only do automobile enthusiasts gather at the annual Concours d'Elegance, but owners and fans of all types of cars gather in smaller groups to celebrate their favorite...
Sean Szymkowski -
2017 Dodge Challenger and Charger Hellcats recalled for potential oil leakFiat-Chrysler Automobiles has initiated a recall for the 2017 Dodge Challenger Hellcat and 2017 Dodge Charger Hellcat over a potential oil leak that could result in some serious damage. "Oil leak" is a nice way of putting it, actually, since the recall involves the engine oil cooler hoses. FCA...
Sean Szymkowski -
Deadmau5 just bought a McLaren 720S, so prepare for supercar blasphemyEDM artist Deadmau5 has a history of purchasing exotic supercars and doing...let's say "exotic things" to them. Notably, this includes his Lamborghini Huracán turned "Purracan," complete with cat graphics. Now, he has a new toy: a McLaren 720S and we're waiting to see what becomes of it...
Sean Szymkowski -
Honda S2000 successor may feature targa topPiece by piece, Honda's oft-rumored secondary sports car is coming into focus. What has been referred to as the Honda S2000 successor, or more colloquially as the "baby NSX," has seen two patent filings detailing the exterior and interior design. If the latest patent sheds any additional light, the...
Sean Szymkowski -
Report: Lamborghini's future plans include Huracán Safari, SV, GT3 Stradale, plus 800-hp Aventador successor Sean SzymkowskiLamborghini is ready to flex its supercar muscles as its future product plans come to light. According to a new report from Automobile, the Raging Bull has a spate of Huracán variants in the...
-
Screen the "McLaren" documentary on-demand starting August 25Everyone knows the McLaren name as it pertains to the legendary Formula One constructor and now supercar maker, but the story of founder Bruce McLaren's humble beginnings may not be as well known. After screening in small pockets across the country, the "McLaren" documentary will be available to...
Sean Szymkowski -
Mazda MX-5 Miata design proposals reveal what could have beenEveryone's favorite example of slow car that begs to be driven fast almost looked a little different from the production Mazda MX-5 Miata on the road today. The brand itself recently released a slew of images that show a handful of design proposals for what would become the...
Sean Szymkowski -
There's a multi-story go-kart racetrack opening in Niagara Falls, CanadaWell, color us jealous. Niagara Falls, Canada, is about to receive one heck of an attraction. A massive, multi-story go-kart track is nearly finished and it will be the first of its kind in the entire country, according to CBC. Atop the Clifton Hill tourist area, the go-kart track will feature a...
Sean Szymkowski -
2018 Alfa Romeo Giulia Quadrifoglio will cost more, but also have moreBad news, Italian sport sedan fans. The 2018 Alfa Romeo Giulia Quadrifoglio will cost more than the 2017 version. Good news: the slightly higher MSRP includes additional standard equipment. The price for one standard-issue 2018 Alfa Romeo Giulia Quadrifoglio will climb to $75,085, which represents...
Sean Szymkowski -
What happened to Apple's self-driving car?Only a couple years ago, bombshell reports surfaced. Apple, the longtime computer, smartphone, and technology company, was ready to build its very own car. Not just a car, but a self-driving car. Flash-forward to 2017 and things have changed—drastically, at that. Apple has scaled back its car...
Sean Szymkowski -
China is the world's number one automotive market, and adding fuel to booming auto sales is the fact that electric cars are expected to grow exponentially. With this in mind, Ford has signed a...
-
Cadillac celebrates 115th birthday with 2018 CTS-V Glacier Metallic EditionCadillac is throwing itself a bit of a birthday party, except the presents are for anyone but the brand. Instead, to celebrate Cadillac's 115th birthday, General Motors' luxury marque has revealed the 2018 Cadillac CTS-V Glacier Metallic Edition. While the name lends itself to just a one-off...
Sean Szymkowski -
Documentary reveals Mercedes-Benz AMG developed the CLK GTR in just 128 daysNo one at Mercedes-Benz knew it at the time, but the Mercedes-Benz CLK GTR would ultimately go down as one of the 1990's most iconic Grand Touring Championship cars and spawn one of the era's wildest limited-edition supercars. It's easy to assume such a project took months, even years to develop...
Sean Szymkowski -
Jesse from "The Fast and the Furious" lives a quarter mile at a time in a Nissan GT-RA lot has changed since 2001, the year the original "The Fast and the Furious" opened in movie theaters. The DVD players the film's protagonists sought out aren't really hot items anymore and the Nissan GT-R has finally come to America. Jesse, one of the first film's staple characters, finally got...
Sean Szymkowski -
Audi to introduce new naming structure to incorporate nonconventional powertrainsPrepare for Audi's naming structure to become slightly more complicated. The German luxury brand has revealed its new naming structure, which will allow Audi to incorporate vehicles with nonconventional powertrains, such as plug-in hybrids and electric cars, into its naming scheme. To be clear, the...
Sean Szymkowski -
New information says 2019 Toyota Supra will get a manual transmission, turbo V-6 engineEnthusiasts can let out a sigh of relief if the latest information about the 2019 Toyota Supra turns out to be true. According to a Toyota insider, the reborn Supra will feature a manual transmission after all. Plans also call for a turbocharged V-6 engine. As you may recall, the most recent leaked...
Sean Szymkowski