Stephen Edelstein, Contributing Writer
Articles
-
- A Cadillac executive said the brand desires a hypercar
- No confirmation of a hypercar being developed has been given
- Cadillac's committed to having an electric lineup by 2030, but will continue to...
-
Ram working on stowable side step for pickup trucksRam's designing a new way for owners to access the bed of their trucks.
Stephen Edelstein -
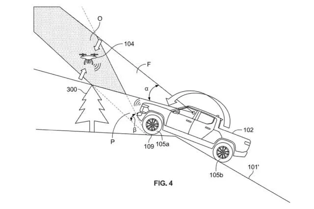
Rivian working on a vehicle spotter drone systemRivian might replace human off-road spotters with an electronic drone that communicates with the vehicle.
Stephen Edelstein -
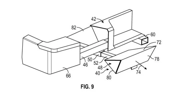
Rivian developing bed-mounted decking and cargo boxesRivian looks to be leaving no stone unturned when it comes to improving the functionality of its EVs.
Stephen Edelstein -
Latest BMW art car is a 215-mph race car headed to Le MansBMW's tradition of art cars continues with a creation by New York artist Julie Mehretu.
Stephen Edelstein -
Ford patents unconventional method for battery-swapping EVsCommercial battery-swapping stations are already a thing in some countries, and Ford in the future may have some of its own.
Stephen Edelstein -
- Ford released the first full image of its F-150 Lightning SuperTruck
- The F-150 Lightning SuperTruck will have 6,000 pounds of downforce at 150 mph
- The F-150 Lightning SuperTruck appears to be in it...
-
Geneva auto show moves permanently to QatarThe Geneva auto show known for its glitzy supercars is toast, but a ghost of what was will live on in Qatar.
Stephen Edelstein -
Future Rivians might have removable roofsA sliding latch system could remove future Rivian roofs along the lines of the Jeep Wrangler and Ford Bronco.
Stephen Edelstein -
GM dreams up magnetic levitating seatsGM is looking at using the same principle behind maglev trains for a more advanced method of adjusting your car seats.
Stephen Edelstein -
Ford will wing it at Pikes Peak with F-150 Lightning SuperTruckThe design of the F-150 Lightning SuperTruck is yet to be revealed, but we know it will have a big rear wing and a rear diffuser.
Stephen Edelstein -
Flat 4-rotor hybrid? No, but Toyota, Subaru, and Mazda will develop a new engine togetherThe Japanese automakers aim to develop small internal-combustion engines optimized for motors and batteries—and it's unlikely to be a flat 4-rotor hybrid.
Stephen Edelstein -
Aston Martin's DBS successor will feature a new V-12 engine because it's what its customers want. So said Alex Long, the automaker's head of product and marketing strategy, in a recent interview with...
-
Ford working on position-sensitive dampers for off-road vehiclesFord may be planning its own position-sensitive dampers similar to Multimatic's DSSV design.
Stephen Edelstein -
Bugatti Type 55 Super Sport honored with latest Sur Mesure ChironBugatti's latest one-off Chiron features a color theme inspired by a car designed and used personally by Jean Bugatti.
Stephen Edelstein -
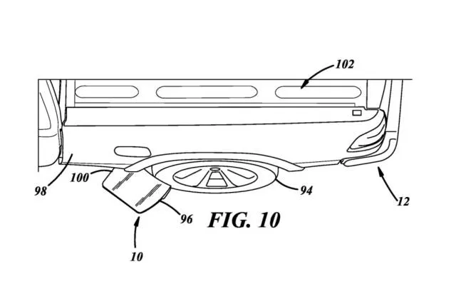
Ford designs deployable step for a pickup's rear bumperFord continues to develop novel ways to make living with a pickup truck easier.
Stephen Edelstein -
Bugatti boss: Sticking with gas, maybe fuel stations at owners' homesBugatti expects to stick with the combustion engine until 2035 and beyond.
Stephen Edelstein -
GM's working on a clutch for an electric car transmissionAn electric car doesn't need a clutch, but GM's potentially developing one anyway.
Stephen Edelstein -
Ferrari is developing an augmented-reality display that would help coach drivers.
As described in a patent application published by the United States Patent and Trademark Office (USPTO) on April 2,...
-
Ford working on climate-controlled frunkFuture Ford frunks could be cooled to keep groceries at the right temperature.
Stephen Edelstein -
Rivian explores a potential deployable roof-top canopyRivian is dreaming up all sorts of ways to make enjoying the outdoors with your vehicle easier.
Stephen Edelstein -
Icon's new restomod is a true blue 1968 Ford BroncoHaving taken a break from its usual Toyota Land Cruiser restorations, Icon has turned to the original Bronco for its latest job.
Stephen Edelstein -
GM envisions future where entire windshields become displaysMore and more automakers are investigating methods to turn the windshield into one giant display.
Stephen Edelstein -
Report: Aston Martin might launch Mercedes G-Class alternativeThe proposed SUV would likely use an Aston Martin platform and a Mercedes engine.
Stephen Edelstein