Sean Szymkowski, Contributor
Articles
-
Volkswagen wants to one day forego real-world testing for self-driving technology. As a result, the German auto giant announced it is developing virtual "test drivers" of the sort to validate...
-
Philippine inventor demonstrates drone that can carry a personA former Philippine dancer and camera operator has turned into an inventor as he revealed his drone that actually carries a human being. Kyxz Mendiola has invented a drone that features a cockpit for a single person and multiple propellors similar to those found in smaller drones. Think of it as a...
Sean Szymkowski -
GM files trademark for "Sport Control AWD" nameGeneral Motors has something brewing involving an all-wheel-drive system. GM Authority first discovered on Wednesday a trademark filing for the name "Sport Control AWD." The United States Patent and Trademark Office granted the filing on September 20 and noted the name will be associated with...
Sean Szymkowski -
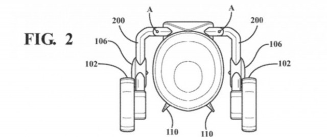
New patent emerges for Toyota's flying carToyota last year threw its hat into the ring to build a flying car, and the automaker has since filed to protect a new design of its own. First discovered by AutoGuide, Toyota looks to have filed a patent that shows a "dual mode vehicle." Additionally, the patent covers the wheels for the flying...
Sean Szymkowski -
Mercedes-Benz cars will soon suggest safest areas to parkIn the near future, Mercedes-Benz cars will tell drivers the safest place to park to avoid crime-filled and unsafe areas. New technology from the brand is under development to reference police statistics and highlight the best parking areas. According to Drive, which reported on the technology...
Sean Szymkowski -
Hunt on to find Lotus founder Colin Chapman's first carLotus is enlisting the help of enthusiasts, collectors, and any car hunter willing to help find the first car that company founder Colin Chapman built. The car is the Lotus Mark I, which Chapman built from a donor Austin Seven back in 1948, and it hasn't been seen for over 60 years. Chapman built...
Sean Szymkowski -
General Motors has filed yet again for more patents regarding active aerodynamics, and this time they're clearly for a mid-engined car. The automaker has filed two new patents surrounding control...
-
Rear-wheel-drive Audi R8 could return with supercar's faceliftAudi Sport is out testing prototypes for an updated R8, and a rear-wheel-drive variant could return with the freshening. Autocar reported Tuesday that Audi marketing manager Linda Kurz commented on the return of a rear-driving R8. Specifically, she said the previous one, called the R8 V10 RWS (or...
Sean Szymkowski -
Cadillac moving its headquarters back to Detroit from New YorkThe Cadillac brand will return to Detroit after a controversial relocation to New York City in 2015. The brand's new president, Steve Carlisle, announced the relocation in an interview with The Wall Street Journal on Wednesday. The move back to Detroit follows the departure of former Cadillac...
Sean Szymkowski -
Chevy Silverado-based Hennessey Goliath 6x6 revealed with 705 horsepowerFor Hennessey Performance Engineering faithful that couldn't swallow the idea of owning a Ford-based Velociraptor, the Goliath 6x6 has arrived. It's based on the 2019 Chevrolet Silverado 1500, and like the F-150 based pickup, it's powerful, off-road ready, and utterly bonkers. Hennessey revealed...
Sean Szymkowski -
Saleen celebrates 35 years with commemorative 2019 MustangSaleen celebrates 35 trips around the sun this year, and it's marking the occasion with a Mustang-based special edition. The car is appropriately called the SA 35, for Saleen Automotive 35, and just 10 examples will be built. These days, Saleen is actually an automobile manufacturer, but the...
Sean Szymkowski -
BMW names new chief for M divisionAfter four years on the job, current BMW M boss Frank van Meel will exit the role. BMW has appointed van Meel, formerly of Audi Quattro GmbH (Audi Sport), to chief of total vehicle development. Replacing van Meel will be Markus Flasch, chief engineer for the new 8-Series. Evo reported on the...
Sean Szymkowski -
Chevrolet's worst-kept secret is the C8-generation mid-engine Corvette. We've heard a lot of rumors about the upcoming sports car with its engine mounted in the middle, but one has persisted: there...
-
This Ferrari-powered F1 replica is road-legal, production-boundDriving a real Formula 1 racer on the road isn't possible. That makes Zac Mihajlovic's homemade, road-legal F1 replica really something. Mihajlovic has documented the build process on Instagram, which reveals the car features an actual Ferrari V-12 engine. Specifically, the engine comes from an F12...
Sean Szymkowski -
Amazon Echo Auto gives nearly any car Alexa capabilityAmazon's family of Alexa-connected devices is ready for a road trip. The online retailer and technology company announced Thursday its Echo Auto, which brings Alexa and its voice controls to the car. Some automakers offer Alexa voice control built-in to their infotainment systems, but for millions...
Sean Szymkowski -
2019 Ram 1500 Rebel 12 intersects off-roading and upscaleRam has added a dose of luxury to its popular off-road 1500 Rebel model. The brand announced Friday the 2019 Ram 1500 Rebel 12 package, which combines some of Ram's luxury and technology features with the off-road capability of the Rebel. The 2019 Ram 1500 Rebel 12 begins life as a standard Rebel...
Sean Szymkowski -
Toyota thinks it needs a new Celica or MR2Toyota says it wants to build another sports car to join the upcoming fifth-generation Supra and the 86 in its lineup. A new Celica or MR2 could fit the bill, according to a Wednesday report from Road and Track. The public confirmation of Toyota's desire to build a third sports car comes after...
Sean Szymkowski -
BMW and Daimler's joint mobility business will be based in BerlinDaimler and BMW Group announced in March that the two rivals would join forces and combine their various mobility services under one equally owned joint venture. The two German auto giants have since confirmed that the mobility joint venture will be headquartered in Berlin. The company, which...
Sean Szymkowski -
Three years after launching its Audi On Demand short rental service, the German premium brand has waded into the full-blown car subscription segment with Audi Select.
Audi announced Thursday that the...
-
Electric self-driving semi concept previews Ford's long-haul visionFord isn't exactly known for semitrucks around the world, but that may soon change. At the IAA Commercial Vehicle Show in Germany on Thursday, Ford showed off its F-Vision Future Truck concept. Ford Otosan, based in Turkey and the automaker's largest commercial vehicle production base, debuted the...
Sean Szymkowski -
Polestar won't sell from traditional dealershipsPolestar said on Thursday it would not sell its cars from traditional dealerships in North America. Instead, the Swedish offshoot of Volvo said it will operate franchised "galleries" called Polestar Spaces. The galleries will be located in city centers. Trained product experts–not salespeople...
Sean Szymkowski -
Renault envisions convoys of self-driving delivery vehicles with EZ-Pro conceptFollowing Renault's vision of a self-driving future for ride-hailing with its EZ-Go concept, the French automaker has bestowed the world with a self-driving concept for delivery vehicles. It's called the EZ-Pro, and it was revealed on Wednesday. Unlike some self-driving delivery vehicle concepts...
Sean Szymkowski -
Classic car restorer and dealer JD Classics sold to new ownerJD Classics can breathe a sigh of relief as it's been sold to a new owner. AM Online reported Tuesday that the major classic car restorer and dealer found a buyer in Woodham Mortimer, a company controlled by HPS Investment Partners LLC. Woodham Mortimer's purchase of JD Classics secured 60 jobs at...
Sean Szymkowski -
Porsche, Hyundai investing in holographic augmented reality tech companyPorsche led a round of Series C investments into WayRay, a Swiss company working toward bringing holographic augmented reality (AR) displays to production, WayRay announced on Tuesday. Hyundai also joined in on the investment, which raised $80 million. Since 2012, WayRay has raised more than $100...
Sean Szymkowski