Ram News
-
The 2025 Ram Power Wagon and Rebel HD get facelifts, and the Rebel adds power and gears to take on the new competition.
-
Mopar '25 Ram 1500 RHO packs premium features, priceMopar's series of limited-edition custom builds is now into its 16th year.
Viknesh Vijayenthiran -
Ram punts 1500 REV electric truck to "late 2026"The 1500 Ramcharger series plug-in hybrid will now arrive possibly a full year before its fully electric 1500 REV sibling.
Viknesh Vijayenthiran -
Ram might bring back the hood ornamentThe hood ornament may return to Stellantis pickup trucks.
Stephen Edelstein -
Ram midsize truck confirmed for 2027The old Jeep Cherokee plant in Belvidere, Illinois, will be reactivated to fill a gap left by the Dakota.
Stephen Edelstein -
Ram 1500 REV electric truck reportedly won't have 500 miles of rangeRam's electric 1500 is arriving later than originally promised and seemingly with reduced range.
Viknesh Vijayenthiran -
The heavy-duty Ram 2500 gets larger touchscreens, a lower tow rating, and an update available turbodiesel powertrain for 2025.
-
Tim Kuniskis, father of the Hellcats, returns to StellantisTim Kuniskis returns to Stellantis to lead Ram, coinciding with the resignation of Stellantis CEO Carlos Tavares.
Viknesh Vijayenthiran -
Ram readies 1500 RHO, 2500 Power Wagon concepts for SEMA showRam will use the SEMA show to highlight some truck accessories that may headed for showrooms shortly.
Viknesh Vijayenthiran -
Review: 2025 Ram 1500 RHO dials a Baja brute up to 10The Ram RHO might not pounce and growl like a Hellcat and dial it up to 11 like the TRX, but it’s a Hurricane of an off-road truck.
Bengt Halvorson -
Ram gives first look at updated 2025 Heavy DutyAn updated Ram Heavy Duty range is coming soon.
Viknesh Vijayenthiran -
2024 Ram Rebel HD and Power Wagon get lunar-themed treatmentRam's heavy-duty trucks get a special package with unique design details and extra standard equipment.
Viknesh Vijayenthiran -
The 2025 Ram 1500 doesn’t stand out with the highest tow rating, but it’s one of the best at getting the job done.
-
Review: 2025 Ram 1500 Tungsten sits atop luxury truck hillThe 2025 Ram 1500 Tungsten sets a new standard for luxury trucks both in content and price.
Joel Feder -
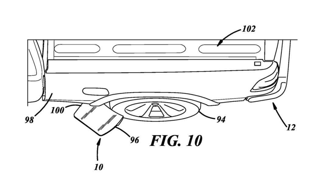
Electric Ram trucks may feature deployable rear step that doubles as a diffuserStellantis' latest patent combines two features in one.
Viknesh Vijayenthiran -
Ram might be working on a three-row pickup truckRam might take the Revolution BEV concept's third-row jump seats and put them into production.
Stephen Edelstein -
Jeep, Dodge, Ram, and Chrysler plotting "death of chrome" because it's toxicThe days of chrome at Jeep, Dodge, Ram, and Chrysler are numbered due to health reasons.
Stephen Edelstein -
Ram working on stowable side step for pickup trucksRam's designing a new way for owners to access the bed of their trucks.
Stephen Edelstein -
Tim Kuniskis is leaving Stellantis at the same time the automaker's brands ditch the V-8 in favor of electric performance.
-
Ram teases new flagship truck above 1500 RHOThe 540-hp 1500 RHO isn't the end of the performance road for Ram's pickup trucks.
Viknesh Vijayenthiran -
2026 Ram 2500 HD Rebel spied with updatesRam's heavy-duty pickup truck will keep its available V-8 for now.
Viknesh Vijayenthiran -
2025 Ram 1500 RHO coming with TRX suspension, turbo-6 powerRam's new king-of-the-hill off-roader, the RHO, has all the TRX's off-road capability without the crazy power.
Kirk Bell -
Review: 2024 Ram 2500 HD Rebel compromises for capabilityThe Ram 2500 HD Rebel can haul a load and go off-road, but it compromises for both.
Joel Feder -
2024 Hennessey Mammoth 1000 TRX Last Stand marks extinctionRam's 1500 loses the V-8 after 2024, and that also means the end of the road for Hennessey's V-8-powered Mammoth 1000.
Viknesh Vijayenthiran