Four-wheel drive vehicles often feature transfer cases with low range, but this trail-centric gearing usually can't be engaged on the move. Stellantis is working on a way to do that—in hybrid vehicles, at least.
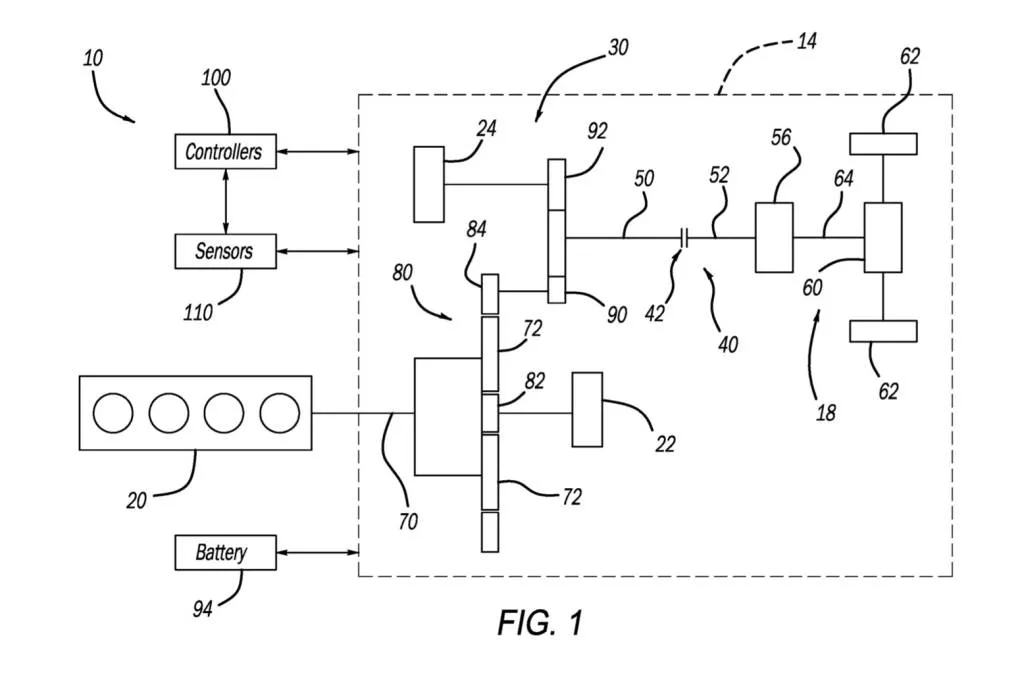
In a patent application published by the United States Patent and Trademark Office (USPTO) June 4, 2024, and originally filed by Stellantis July 31, 2023, the automaker discusses in-motion low-range shifts using a hybrid system in which two electric motors connect to an internal-combustion engine via a planetary gearset, while retaining a traditional transfer case and rear differential.

Stellantis in-motion 4WD Lo shift patent image
In a such a system, the two motors are used to synchronize the speed of the engine and a transmission output shaft in order to execute smooth shifts into and out of low range while the vehicle is moving. One motor would be connected to the planetary gearset's central sun gear and would apply torque to the gear shaft to moderate engine speeds. The second motor would do the same for the transmission output shaft.
Sensors would monitor the speeds of the engine, transmission output shaft, prop shaft, and wheels, sending instructions to a controller as necessary to ensure everything syncs up. To engage low range while moving, signals would be sent to rotate the low-range gear set at the same speed as the wheels, eliminating the speed differential that normally makes shifting into low range while driving difficult.

Stellantis in-motion 4WD Lo shift patent image
If implemented, this would be a major development for old-school four-wheel-drive systems. The additional gear reduction created by low range further increases low-speed traction, make it crucial for off-roading, but that's not helpful at higher speeds. And right now, most production vehicles require drivers to stop and shift into neutral in order to engage or disengage low range.
It makes sense for the parent company of Jeep to purpose this feature, although whether it will actually see production is another matter. Current Jeep 4xe plug-in hybrids use a different arrangement of electric motors, with a main traction motor at the input shaft of an 8-speed automatic transmission, but no motor at the output shaft (a second belt-connected motor helps power accessories, though). It could be implemented with the series plug-in hybrid powertrain tipped for the next Jeep Wrangler, though.