Stephen Edelstein, Contributing Writer
Articles
-
Comedian Gabriel Iglesias—a.k.a. Fluffy—went to a Las Vegas Barrett-Jackson auction hoping to sell cars, but ended up buying this 1969 Chevrolet Chevelle SS396 and sending it straight to...
-
Porsche Vision GT Spyder coming to Gran Turismo 7 on Sept. 29Gamers, get ready: Porsche's latest open-roof concept will be ready to play next week.
Stephen Edelstein -
Select 2003-2020 Porsches recalled for missing headlight coversThe missing headlight covers can misalign headlights to create glare for oncoming drivers or insufficient light coverage for drivers.
Stephen Edelstein -
Duck tales: History of the Porsche ducktail and Carrera RS 2.7Sit back enjoy this history lesson on the predecessor to today's 911 GT3 RS.
Stephen Edelstein -
Ford patents power outlets in roof railsNew technology could make camping more convenient.
Stephen Edelstein -
Rare 1970 Porsche 914 rolls through Jay Leno's GarageLearn the history of the uber-rare racing version of the Porsche 914.
Stephen Edelstein -
A new Guinness World Record has been set for the fastest mile driven in reverse, with a time of 1:15.18.
The record was set June 15, 2022, by Scot Burner at NCM Motorsports Park, the racetrack...
-
BMW Dune Taxi electric off-roader teased with 536 hpBMW has teased a wild electric off-roader that may portend a role related to the Extreme E race series.
Stephen Edelstein -
2023 Dodge Charger King Daytona arrives with 807 hp as fifth Last Call modelNamed after William "Big Willie" Robinson's 1969 drag race car, the 2023 Dodge Charger King adds 10 hp to the Charger Redeye model.
Stephen Edelstein -
Ford to dealers: Get on board or stop selling EVsWhile Ford will stick with franchised dealerships instead of a Tesla-like direct sales model, dealers that opt into the Model E business will also have to agree to non-negotiable pricing.
Stephen Edelstein -
Bayside Blue R34 Nissan GT-R driven by Paul Walker for sale"Fast and Furious" GT-R heads for sale, heavy mods and all.
Stephen Edelstein -
Sleek Pagani Utopia unveiled as Huayra successor with 852-hp twin-turbo V-12Pagani plans to build 99 Utopia coupes, but expect special edition, track edition, and Roadster models to follow.
Stephen Edelstein -
Honda may no longer be in Formula 1 officially, but it's still using reigning world champion Max Verstappen to show off the upcoming 2023 Civic Type R.
The Red Bull Racing driver is let loose in the...
-
Volkswagen shows rugged ID.4 conceptVolkswagen has built a one-off ID.4 electric crossover designed for off-roading.
Stephen Edelstein -
Deep dive: How Koenigsegg reinvented the manual transmission for the CC850Koenigsegg's latest hypercar features an automatic transmission that can transform into a manual complete with a clutch pedal.
Stephen Edelstein -
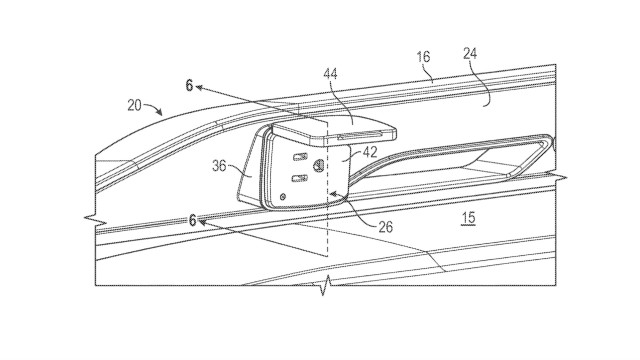
Ford wants to turn your truck and trailer into a giant R/C carThere's already remote parking, and eventually there may also be remote trailering, if Ford's latest patent is any indication.
Stephen Edelstein -
Volvo P1800 Cyan races into Jay Leno's GarageMeet the Volvo P1800 restomod built by a Swedish racing team.
Stephen Edelstein -
Ford Bluecruise adds hands-free lane changesBluecruise now also suggests lane changes, slows the vehicle down for corners, and moves the vehicle in its lane away from from wider vehicles.
Stephen Edelstein -
Roof tents have become popular automotive accessories, and now Porsche is getting in on the trend with its own version.
The factory-accessory tent is compatible with the Cayenne and Macan crossover...
-
Mercedes-Benz and Rivian to partner on European electric van factoryA joint venture between Mercedes-Benz and Rivian will give Rivian its first manufacturing site in Europe.
Stephen Edelstein -
1928 Isotta Fraschini brings prewar Italian luxury to Jay Leno's GarageThis 1928 Isotta Fraschini cost $1,200 at a time when the Ford Model A started below $400.
Stephen Edelstein -
Ford patents pet restraints for carsFord's proposed pet restraint system would work much like seat belts with straps and rectractors to keep pets from getting thrown about the cabin.
Stephen Edelstein -
The Porsche Cayenne S Transsyberia was a rally-inspired SUVThe Transsyberia rally is a grueling cross-country race that sees challengers travel more than 4,000 miles through Russia and Mongolia.
Stephen Edelstein -
Learn the story behind Ruf AutomobileThis documentary on Ruf Automobile examines how the company started, the important cars of its past, and how it builds its cars.
Stephen Edelstein