Ferrari has used rear-wheel steering on some of its recent models to improve handling, but a recent patent filing indicates a more advanced system may be in the works.
In a patent application filed with the United States Patent and Trademark Office (USPTO) on Feb. 11, 2021, and published April 18, 2023, Ferrari discusses linking rear-wheel steering with chassis stiffness, adjusting both "in a simultaneous and coordinated manner" while cornering.

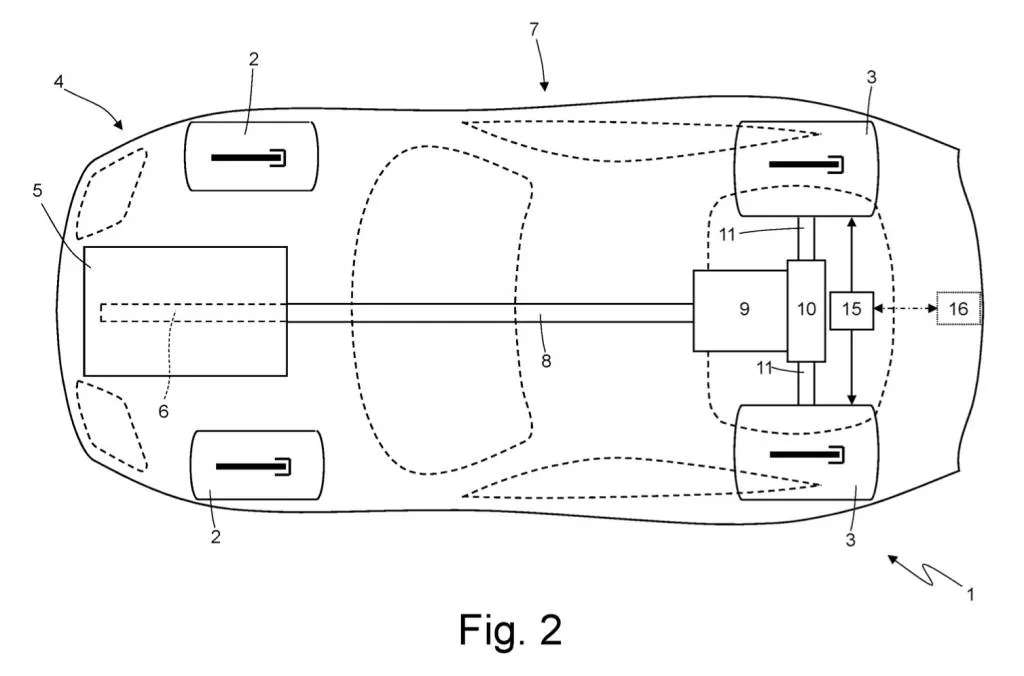
Ferrari rear-wheel steering system patent image
Existing rear-wheel-steering systems, like the Virtual Short Wheelbase system introduced on the Ferrari F12 tdf in 2015, the rear wheels are usually steered in the same direction as the front wheels during high-speed cornering. This counteracts the centrifugal force pushing the car to the outside of the corner, prevents the rear wheels from skidding, and helps the driver maintain the proper line, Ferrari notes in the application.
Ferrari proposes using a control unit and electronic actuators at all four wheels to adjust the spring and damper firmness (for cars with passive or magnetic dampers), and another electronic or hydraulic actuator to adjust rear steering angle, based on real-time sensor readings to keep the car on the ideal line. Ferrari describes the system for front-engine cars, such as the 812 range, Portofino, Roma, and the new Purosangue SUV.
The amount of tweaks to each could vary, Ferrari noted. For example, in medium-speed corners with low lateral acceleration, the rear-wheel steering may do most of the work, with the dampers only getting adjusted as a secondary means.

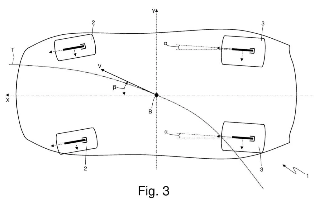
Ferrari rear-wheel steering system patent image
Near the limit of stability at high speeds, a greater effect can be achieved by lowering the center of gravity of the car by changing the stiffness of the connection all four wheels to the frame. The amount of rear-wheel steering angle can change between these two extremes.
Patents are no guarantee of production intent, but a system like this could give Ferrari engineers a way to further sharpen the handling of Maranello's sports cars. It also seems a bit more plausible than the gas-thruster system Ferrari also recently tried to patent. This would use jet-like thrusters to aid acceleration, or potentially even stabilize a vehicle in otherwise uncontrollable slides or spins, but the need to store high-pressure compressed air onboard to power the thrusters could be an issue.