General Motors
-
Mario Andretti, the last American F1 champion, will serve as director of the team's board, and there will be a corresponding powertrain program.
-
GM developing adaptive springs for suspension systemsGM's looking at applying magnetic damper technology to the sprigs of future vehicles.
Stephen Edelstein -
GM reportedly ditching Ultium EV branding on batteries and techGM will drop the naming strategy of its electric vehicle battery and propulsion components.
Stephen Edelstein -
GM patents deployable awning just like RivianGM's seemingly following Rivian's lead by investigating deployable awnings.
Stephen Edelstein -
GM developing Endurance Mode for EV racingGM's looking at how to make an EV last longer during a race session.
Stephen Edelstein -
GM working on drone-based off-road navigation systemLike Rivian, GM's looking at using drones to help navigate off-road terrain
Stephen Edelstein -
A future GM vehicle might feature adaptive air intakes.
-
GM looking at panoramic windshield that bleeds into the roof, like Lucid and TeslaGM might be taking a page from some electric start-up automaker's playbook.
Stephen Edelstein -
Cadillac boss: We want to build a hypercarA Cadillac hypercar isn't off the table, and the timing coincides with the automaker re-entering the racing scene at Le Mans and potentially even Formula 1.
Stephen Edelstein -
GM's working on a clutch for an electric car transmissionAn electric car doesn't need a clutch, but GM's potentially developing one anyway.
Stephen Edelstein -
GM envisions future where entire windshields become displaysMore and more automakers are investigating methods to turn the windshield into one giant display.
Stephen Edelstein -
Chevrolet Corvette boss retiresTadge Juechter has been with GM for 47 years and has led the Corvette team since 2006.
Stephen Edelstein -
Foldable bed ramps would fit in GM pickup bed walls and still allow for a shallow loading angle.
-
GM patents active aero, possibly for C8 Corvette ZR1Active front and rear spoilers could adjust their angle to create more downforce, potentially on the Corvette ZR1 and/or Zora.
Stephen Edelstein -
The Chevrolet Camaro is dead, again, for nowThe last sixth-generation Camaro was built on Dec. 14, 2023.
Stephen Edelstein -
GM thinks Apple CarPlay, Android Auto make cars less safeA GM representative said eliminating Apple CarPlay and Android Auto connectivity means drivers will look at their phones less often, but the company hasn't studied the issue.
Stephen Edelstein -
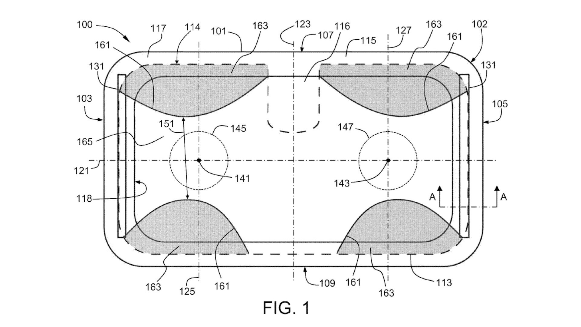
GM patents hybrid metal-composite wheelsGM's hybrid metal-composite wheels would use metal barrels and fiber-reinforced polymer composites for the wheel face and spokes.
Stephen Edelstein -
GMC Sierra Grande concept takes AEV factory build to next levelThere's always more aftermarket off-road parts to add, and the GMC Sierra Grande concept has some select choices from AEV.
Stephen Edelstein -
Honda and GM are no longer going to work together on affordable EVs.
-
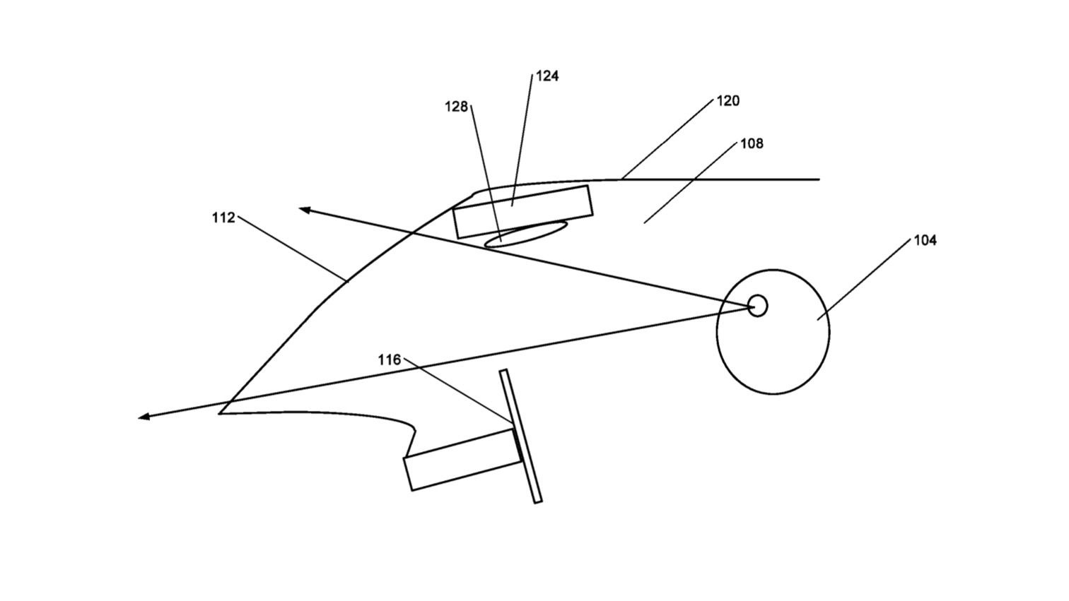
GM patents electrically heated windshield for EVsGM's windshield heating system would use an EV battery's DC current to heat embedded elements in the glass.
Stephen Edelstein -
Concept military version of GMC Hummer EV revealed at Modern Day MarineThe Electric Military Concept Vehicle puts a purpose-built body and hardware on the GMC Hummer EV as a possible military alternative to gas burners.
Stephen Edelstein -
GM patents robotic EV chargerIn the future, your EV charger may connect and disconnect itself.
Stephen Edelstein -
GM patents tow-assist device to increase towing capacityGM's tow-assist device would use electric motors to increase towing capacity and could be used to position a trailer when not hooked to a tow vehicle.
Stephen Edelstein -
GM to phase out Apple CarPlay in EVs, chooses GoogleFuture GM EVs will feature Google-based infotainment systems.
Stephen Edelstein