Tail fins will likely never make a comeback on production cars, but Ford is proposing a different kind of fin to help improve the efficiency of pickup trucks.
CarBuzz spotted a patent application filed by the automaker with the United States Patent and Trademark Officer (USPTO) on June 6, 2023, and published by the USPTO earlier this month, titled "Vehicle Aerodynamic Altering System and Method," discusses using deployable rear fins to change the airflow around a truck's bed.

Ford deployable bed fin patent image
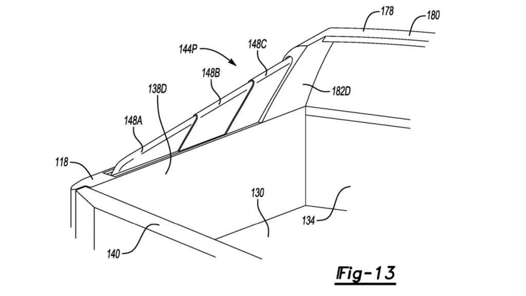
According to the application, these bed fins would telescope out from the rear wall of the cab along the bed sides to create a flying buttress look. When fully deployed, the fins would create a triangular shape starting out roughly flush with the rear of the cab and angling down to about the same height as the tailgate. Deployment can be controlled from a central module programmed to make aerodynamic adjustments at specific times.
The application also mentions a tonneau cover that could be attached to the deployed fins, completely enclosing the truck's bed.

Ford deployable bed fin patent image
While the application mainly discusses using deployable bed fins on an electric truck, like the upcoming T3 truck scheduled to debut in 2025, Ford claims the feature could also be used with internal-combustion or plug-in hybrid powertrains.
Like other automakers, Ford files a steady stream of patent applications to protect new ideas—even ones that may not make it to production. But the automaker's engineers have been spending a lot of time on deployable aerodynamic aids in particular. Ford also recently patented a reconfigurable tonneau cover that could be used to reduce aerodynamic drag, as well as deployable dive planes to generate more downforce in performance cars.