Dive planes are becoming more common on performance cars as a way to increase downforce, but a Ford patent application hints at a more sophisticated version of these aero aids.
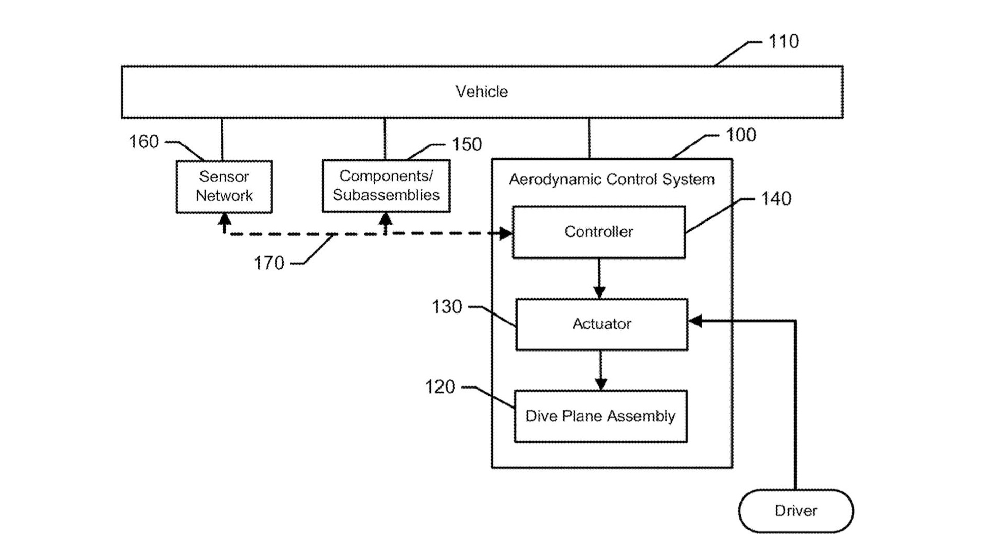
Instead of being fixed in place like normal dive planes, the patent application describes deployable versions that could be adjusted based on different vehicle parameters. Movement would be controlled by actuators, according to the application, which was published by the United States Patent and Trademark Office (USPTO) Jun. 8, 2023, but originally filed Dec. 7 , 2021.

Ford deployable dive planes patent image
Mounted at the front corners of a vehicle, dive planes can generate additional downforce and help with the aerodynamic balance of the car. Because they stick out of the bodywork at a perpendicular angle, they look a bit like miniature versions of submarine dive planes, which appears to be where the name comes from.
However, as Ford notes in the patent application, any fixed aerodynamic device will only work properly in certain conditions. Having dive planes that can deploy when needed and retract at other times offers greater flexibility, a bit like the retractable rear spoilers that are now common on performance cars. A Bugatti Chiron can raise its rear wing for maximum downforce or lower it to reduce drag, so why not do the same with dive planes?

Ford deployable dive planes patent image
That seems to be what the Blue Oval is going for here. The application says the proposed deployable dive plane system could be used to "optimize drag, lift, and other aerodynamic properties," benefitting "both customer confidence and vehicle capability with less compromise."
As with all patent material, though, there us no guarantee deployable dive planes will appear on a future Ford production vehicle. Ford is no stranger to performance vehicles, though, so there will likely be no shortage of potential applications for this idea. It could be a good fit for performance EVs, where the drag-reduction benefits of retractable dive planes would be especially relevant for maximizing range.