Stephen Edelstein, Contributing Writer
Articles
-
A rare 2018 Aston Martin Lagonda Taraf luxury sedan has popped up for sale at the Southern California dealership group O'Gara.
First spotted by The Drive, the Taraf has just 178 miles on the...
-
1931 Duesenberg Model J was hidden in garage for 56 yearsAn original Duesenberg in relatively good condition is finally seeing the light of day after nearly six decades in storage.
Stephen Edelstein -
Fernando Alonso talks about the perfect lapAston Martin has a video featuring double F1 world champion Fernando Alonso driving the DBX707.
Stephen Edelstein -
Refreshed Ford Edge revealed in long-wheelbase form for ChinaThe Ford Edge L for China is about the same size as the U.S. Explorer but with a wheelbase that is about three inches shorter.
Stephen Edelstein -
Pininfarina Battista sets quarter-mile production-car recordThe Pininfarina Battista has set new 1/4-mile and 1/2-mile production car elapsed-time records.
Stephen Edelstein -
Jacques Villeneuve to race Vanwall LMH in quest for Triple CrownJacques Villeneuve will race with the Floyd Vanwall Racing Team to try to add a Le Mans victory to a resume that already includes Indy 500 and F1 driver's championship wins.
Stephen Edelstein -
Recent McLaren patent filings hint at a triple-motor powertrain for future supercars.
One patent application, published in January 2023 and first spotted by The Drive, describes a rear-axle drive...
-
Lexus yoke, steer-by-wire, unavailable in US for nowTech is promised for the RZ electric SUV, but won't be available at launch.
Stephen Edelstein -
Honda co-founder Takeo Fujisawa inducted into Automotive Hall of FameLearn the history of Honda and its not so famous co-founder.
Stephen Edelstein -
First 1970 Plymouth Barracuda Hemi surfaces for saleA 1970 Plymouth Barracuda claimed to be a pre-production example is currently up for sale with a seven-figure price tag.
Stephen Edelstein -
Icon's Mercedes 6.2 Derelict rumbles into Jay Leno's GaragePopular restomodder Icon has tackled Mercedes-Benz's legendary 300 SEL 6.3 for its latest project.
Stephen Edelstein -
Watch Travis Pastrana's 1983 Subaru GL wagon Family Huckster get builtGo behind the scenes to see how a dowdy 1983 Subaru GL wagon became the wild 865-hp ride for "Gymkhana 2022."
Stephen Edelstein -
Honda is turning the CR-V Hybrid into an 800-hp race car. The completed project vehicle, simply dubbed Honda CR-V Hybrid Racer, will be revealed on February 28.
Teaser photos released by Honda hint...
-
Tesla recalls 362,758 vehicles because Full Self-Driving feature could cause crashDiscussions with the NHTSA have prompted Tesla to issue a recall of cars with its Full Self-Driving system due to possible crashes, and Tesla says the fix is a software update.
Stephen Edelstein -
Continental developing tires made from rubber, rice husks, and plastic bottlesContintental wants to make tires entirely from sustainable materials by 2050.
Stephen Edelstein -
Stellantis patents rear-wheel-steering systemStellantis has patented a rear-wheel-steering system that allegedly offers advantages to conventional designs.
Stephen Edelstein -
GM boss: "I'm not gonna do a Bronco"Will there be an exception for an electric off-road machine?
Stephen Edelstein -
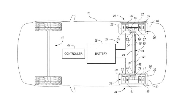
Ford patents solid axle with hub motors for EVsA very different kind of EV powertrain could be in the works at the car company.
Stephen Edelstein -
Ford has filed a second patent application for roof-mounted airbags aimed at offering added crash protection to vehicle occupants.
The automaker filed a patent application with the United States...
-
Rowan Atkinson's 1993 Lancia HF Integrale Evo II heads to auctionRowan Atkinson appears to prefer hatchbacks a little quicker than the original Mini driven by his popular TV personality Mr. Bean.
Stephen Edelstein -
Google Maps update includes EV charging integrationGoogle Maps now shows EV drivers which charging stations have fast charging, and cars with Google built-in will suggest the best charging stops.
Stephen Edelstein -
Ford CEO teases high-performance F-150 Lightning conceptFord is teasing a performance version of the electric F-150 Lighting, but there's no sign a production version is coming.
Stephen Edelstein -
2023 Jeep Wrangler special editions celebrate two decades of RubiconBoth of these special Wrangler versions will also be available with a 20th Anniversary Level II upfit by American Expedition Vehicles (AEV).
Stephen Edelstein -
Matchbox releases 70th anniversary cars made with recycled zincMatchbox is celebrating 70 years of making toy cars with a line of limited-edition models.
Stephen Edelstein